Hlavní přehled   |   Info a nápověda Přihlásit   |   Registrovat
 
 
Elektronické obvody     (str. 1 z 4)
Sekce: Elektro, stroje, dílna, výroba
   |   Rolovat dolů
Různá elektronická zapojení a různě z vod elektronikyStr.: 1, 2, 3, 4  

Psát příspěvky můžete po přihlášení

Adam   
19.09.2015 00:43
Bydliště: Praha
6313 581 6083 
Sčítací obvod (OZ) s neinvertovaným výsledným napětím
 
Pokud potřebujeme sečíst hodnoty několika různých napětí pomocí operačního zesilovače, setkáme se při pátrání po vhodném zapojení prakticky pouze s jedním způsobem, který nám ovšem výsledné napětí poskytuje invertovaně. Pokud náš zdroj do obvodu nepřivádí symetrické napětí (např. -12V +12V), ale pracujeme pouze s kladným napětím (např. 0V až 12V), vytváří to problém, jelikož operační zesilovač nám nebude schopen výsledné invertované (tedy v tomto případě záporné) napětí zprostředkovat.

Mohli bychom se snažit získat symetrické napětí například pomocí rezistorového děliče nebo jinými podobně příjemnými způsoby. Práce s jednoduchou matematikou mne ovšem jednoho dne přivedla na nápad této realizace sumátoru napětí, kde symetrické napětí nepotřebujeme - viz schéma v příloze.

Pokud mají rezistory R1, R2 stejnou hodnotu odporu a vyvedeme-li mezi nimi vývod, vznikne nám mezi tímto vývodem a zemí jakýsi aritmetický průměr velikostí napětí U1 a U2. Pokud výsledek tohoto aritmetického průměru zpětně vynásobíme číslem 2, získáme součet hodnot, ze kterých aritmetický průměr vycházel. Toto vynásobení můžeme naprosto elegantně vyřešit operačním zesilovačem ve známém zapojení neinvertujícího zesilovače. Celý sčítací obvod tím máme vyřešený. K jeho provozu nepotřebujeme symetrické napájecí napětí a zároveň je zapojení takového sčítače velice jednoduché.
 
Přílohy jsou dostupné pouze pro přihlášené uživatele     |     Přihlásit     |     Registrovat 
 
Sumátor - Sčítací obvod (OZ) s neinvertovaným výsledným napětím
Sumátor - Sčítací obvod (OZ) s neinvertovaným výsledným napětím
(Dostupné jen pro přihlášené uživatele) 
 
Obrázky není povoleno jakkoli šířit bez souhlasu jejich autora, a to ani v jakékoli upravené formě
 
Zvláštní ocenění za úsilí nebo přínosPozitivní ohlasy Označit příspěvek Zarážka - Až sem mám přečtenoCitovat a odpovědět

Adam   
29.11.2015 23:32
Bydliště: Praha
6313 581 6083 
Toto zapojení jsem měl už nějakou dobu na svých osobních stránkách a docela to upoutalo pozornost. Původně jsem tam měl ještě i kaskádní zapojení, které se věnovalo možnosti sčítat současně více než 2 napětí. Ozval se mi ohledně toho pan František N., že to kaskádní zapojení mám chybné. Ale to "prosté" zapojení pro sčítání dvou hodnot napětí, o kterém tu hovoříme, mám dle jeho slov správně. On to navíc prohnal nějakým softwarem, který propočítává elektronické obvody se zadanými součástkami. Kaskádu jsem měl vadnou, ale tento sumátor dvou napětí z toho vyšel jako funkční.

Osobně mi přijde velmi pěkné, na jaké matematické podstatě to vlastně funguje. Pouze využívám toho, že aritmerický průměr dvou hodnot vynásobený číslem 2 vrací součet těch dvou hodnot.

Mám osobní radost z toho, že se mi povedlo vymyslet pro mnoho případů lepší zapojení, než je to jinak "jediné známé" invertující zapojení.
 
 
30.11.2015 13:23 Editace moderátorem. Text ořezán v návaznosti na změny ve vlákně.
Zvláštní ocenění za úsilí nebo přínosPozitivní ohlasy Označit příspěvek Zarážka - Až sem mám přečtenoCitovat a odpovědět

Ilem   
30.11.2015 10:14
Bydliště: Hradec Králové
451 67 525 
Kaskádní zapojení by fungovalo, ale musel by se měnit zpětnovazební odpor podle počtu vstupů.
Např při 3 vstupech ... R4:R3 = 2:1. Ale v tu chvíli už by to bylo R5 a R4, protože R3 by bylo na vstupu. takže správně R5:R4 = 2:1

Jestli to jde, ty mé dva příspěvky smaž, abych někoho neuvedl v omyl. Už jsem za ten den byl nějaký vyčerpaný.
 
Zvláštní ocenění za úsilí nebo přínosPozitivní ohlasy Označit příspěvek Zarážka - Až sem mám přečtenoCitovat a odpovědět

Správa fóra
Příspěvky obsahující omyl budou na požádání uživatele Ilem odstraněny.
 
Na sdělení moderátora není povoleno reagovat prostřednictvím příspěvku v tematickém vlákně. Považujete-li za nutné zabývat se tímto moderátorským zákrokem, kontaktujte administrátora fóra prostřednictvím e-mailu admin@omforum.cz.
Zarážka - Až sem mám přečteno

Adam   
30.11.2015 13:50
Bydliště: Praha
6313 581 6083 
Pan František N. mi tehdy zaslal obrázek, jak by mohl vypadat sčítací obvod pro sčítání více než dvou hodnot napětí.
 
Přílohy jsou dostupné pouze pro přihlášené uživatele     |     Přihlásit     |     Registrovat 
 
Neinvertující sčítací obvod s operačním zesilovačem
Neinvertující sčítací obvod s operačním zesilovačem
(Dostupné jen pro přihlášené uživatele) 
 
Obrázky není povoleno jakkoli šířit bez souhlasu jejich autora, a to ani v jakékoli upravené formě
 
Zvláštní ocenění za úsilí nebo přínosPozitivní ohlasy Označit příspěvek Zarážka - Až sem mám přečtenoCitovat a odpovědět

Ilem   
30.11.2015 19:41
Bydliště: Hradec Králové
451 67 525 
Přesně tak jsem to myslel pro 3 vstupy.
 
Zvláštní ocenění za úsilí nebo přínosPozitivní ohlasy Označit příspěvek Zarážka - Až sem mám přečtenoCitovat a odpovědět

Adam   
25.12.2017 18:22
Bydliště: Praha
6313 581 6083 
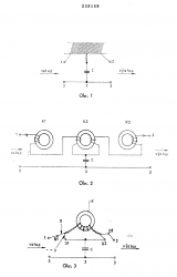
Zpožďovací obvod - Patent č. 235159
 
V návaznosti na diskuzi ve vláknu Elektromagnetická indukce vkládám, na jaký zpožďovací obvod jsem narazil:

http://skpatents.com/3-235159-zpozdovaci-obvod.html
 
Přílohy jsou dostupné pouze pro přihlášené uživatele     |     Přihlásit     |     Registrovat 
 
Patent č. 235159 - Zpožďovací obvod - Zoltán Hajoš
Patent č. 235159 - Zpožďovací obvod - Zoltán Hajoš
(Dostupné jen pro přihlášené uživatele) 
 
Obrázky není povoleno jakkoli šířit bez souhlasu jejich autora, a to ani v jakékoli upravené formě
 
Zvláštní ocenění za úsilí nebo přínosPozitivní ohlasy Označit příspěvek Zarážka - Až sem mám přečtenoCitovat a odpovědět

impuls   
08.04.2018 11:23

756 12 339 
Využití opto místo T
 
Transistor nám může zesilovat atd ,ale nemůžeme jim převést impuls na jiný obvod což nás neučili ,že existuje vhodný obvod OPTO který může zesilovat i převádět .Takže ušetříme náhradou obě možnosti .Neumím kreslit -(omlouvám se ) toto zapojení je jednoduché ,bez poruchové a hlavně nepřenáší poruchy což má pro impulsy řízení MM nejvhodnější přesnost i návaznost na Arduino atp .
P.s k té omluvě můj kreslič odešel do lepšího a moje tvorba zůstává v hlavě -takže hledám novou možnost u jiných kresličů.
 
Zvláštní ocenění za úsilí nebo přínosPozitivní ohlasy Označit příspěvek Zarážka - Až sem mám přečtenoCitovat a odpovědět

lajos   
08.04.2018 11:58
Bydliště: Liberec
328 11 252 
Tranzistor(myslíš asi bipolární?) zesiluje, samozřejmě může pracovat i ve spínacím nebo pulzním režimu na to jsou ale v dnešní době lepší Fety. Optočleny se požívají kde potřebujeme izolovat vstup od výstupu anebo co si ještě vymyslíte
 
Zvláštní ocenění za úsilí nebo přínosPozitivní ohlasy Označit příspěvek Zarážka - Až sem mám přečtenoCitovat a odpovědět

Pafixa    Schval. r.
08.04.2018 14:26
Bydliště: Masada
2447 138 2251 
Optočlen jako generátor....
 
Tak tranzistor určitě umí přenášet impulzy, dokonce je i zesilovat. Optočlen umí přenášet impulzy také, ale současně je umí galvanicky oddělovat, proto se hlavně užívá. Například ve spínaných zdrojích, které se běžně používají v moderní elektronice. Tam se střídavá síť usměrní a přes elektroniku a nějaký většinou MOSFET výkonový tranzistor naseká do malého feritového trafíčka, kde na sekundáru je patřičné požadované napětí o požadovaném výkonu. Mám tu třeba zdroj z plazma televize kde je výstupní napětí viz obrázek a optočleny tam jsou tři. Slouží pro zpětnou vazbu do elektroniky, aby se přesně řídilo výstupní napětí a chránil celý zdroj od zkratu. Je to celé galvanicky oddělené - impulzy pro napájení přechází přes trafo a z výstupu, tedy sekundární strany přes optočleny do řízení elektroniky. Viz obrázky.

Ale kdysi jsem našel jednoduché zapojení optočlenu jako generátoru impulzů. Bylo to v nějakém německém radioamatérském časopise.

Na prvním obrázku je vidět konektor pro připojení s vývodem 5, 12 a 24V pod ním jsou hned dva optočleny pro zpětnou vazbu (IC501 a IC502). Je tam vidět i čárkovaná čára přes celou desku, která vymezuje galvanicky oddělené části, tedy primární stranu zdroje, připojenou galvanicky do sítě a sekundární stranu, připojenou k modulům televize.

Na druhém obrázku je tabulka na desce s údaji o výstupní zatížitelnosti zdrojů.

Na třetím je celý zdroj, opět tam je vidět ta čára co vede přes trafa a optočleny na desce a ukazuje primární a galvanicky oddělené sekundární obvody zdroje.

Na sekundární straně pak v jednotlivých modulech je elektronika TV včetně všech procesorů. Mínus napájení je pak ukostřeno a kostra je připojena na vodič ochranné země sítě 230V/50 Hz. To je třeba si uvědomit, že kostra elektroniky je zemněna přes filtr u zdroje na kolík v zásuvce.
 
Přílohy jsou dostupné pouze pro přihlášené uživatele     |     Přihlásit     |     Registrovat 
 
Konektor
Konektor
(Dostupné jen pro přihlášené uživatele)
 
Tabulka proudového zatížení výstupů
Tabulka proudového zatížení výstupů
(Dostupné jen pro přihlášené uživatele)
 
Celý spínaný zdroj
Celý spínaný zdroj
(Dostupné jen pro přihlášené uživatele) 
 
Obrázky není povoleno jakkoli šířit bez souhlasu jejich autora, a to ani v jakékoli upravené formě
 
Zvláštní ocenění za úsilí nebo přínosPozitivní ohlasy Označit příspěvek Zarážka - Až sem mám přečtenoCitovat a odpovědět

Pafixa    Schval. r.
08.04.2018 14:33
Bydliště: Masada
2447 138 2251 
Našel jsem to zapojení optočlenu jako generátoru:
http://robodoupe.cz/2015/neobvykla-pouziti-optoclenu-ii/

No vida, na netu se dá najít všechno :)


 
Zvláštní ocenění za úsilí nebo přínosPozitivní ohlasy Označit příspěvek Zarážka - Až sem mám přečtenoCitovat a odpovědět

Pafixa    Schval. r.
08.04.2018 20:02
Bydliště: Masada
2447 138 2251 
Levný spínaný zdroj....
 
..je právě možné vytáhnout z nějaké moderní TV. Tento nebyl ani v poruše, odešla jiná elektronika. Tak kdybych ty tři zdroje kupoval nové, bylo by to kolem 1000 Kč.

Takhle mám ideální zdroj pro pokusy s Akulou - 5V/2A, 12V/2A, 24V/5A....no co si víc přát :)


 
Zvláštní ocenění za úsilí nebo přínosPozitivní ohlasy Označit příspěvek Zarážka - Až sem mám přečtenoCitovat a odpovědět

impuls   
16.04.2018 06:05

756 12 339 
  P+FxA napsal(a):    ..je právě možné vytáhnout z nějaké moderní TV. Tento nebyl ani v poruše, odešla jiná elektronika. Tak kdybych ty tři zdroje kupoval nové, bylo by to kolem 1000 Kč. Takhle mám ideální zdroj pro pokusy s Akulou...

Nejsem sám -Heureka
 
Za opto jsem rád ,protože láme hloupé učení o T jako jediném zesilovači -nehledě o jeho návaznosti na další obvody (vyššíU atp).Používám je u svých předstihů ,ale na výstupu mi odcházely MOSFETY TAKŽE JSEM JE MUSEL nahradit darlingtony s menším úspěchem pro otáčky asi o 200 ot/min míň .Nestačí snímanou rychlost naplno využít,takže i síla pro točení je potom slabá. Mosfet otevře naplno ,ale T asi 75 proc .Němci to řešili u pohonu tak ,že využily lichý)1,3,5,7 ,2 4 6 ) a následně sudý počet v zapálení Motoru ( 7,9 11 )hlavu Hvězdice .
 
Zvláštní ocenění za úsilí nebo přínosPozitivní ohlasy Označit příspěvek Zarážka - Až sem mám přečtenoCitovat a odpovědět

ourel   
19.01.2019 23:46
Bydliště: Praha
717 80 1179 
Zaujaly mě dvě praktické a ucelené knihy o elektrotechnice. Jedna je od českého autora a druhá je přeložena z Němčiny. Ta česká je podána trochu i zábavnou formou a obsahuje nejen bastlířské návody a popisy obvodů, ale i věci jako programování Arduina - jenočipového modulárního mikropočítače.
Ta původem německá je skoro taková encyklopedie.

Takže tady něco pro nás elektrotechniky:

Hradla, volty, jenočipy:
https://knihy.nic.cz/files/edice/hradla_volty_jednocipy.pdf

Příručka pro elektrotechnika:
https://uloz.to/!OC3iN7wC9uYm/prirucka-pro-elektrotechnika-pdf
 
Zvláštní ocenění za úsilí nebo přínosPozitivní ohlasy Označit příspěvek Zarážka - Až sem mám přečtenoCitovat a odpovědět

Ilem   
09.02.2019 23:23
Bydliště: Hradec Králové
451 67 525 
  impuls napsal(a):    Za opto jsem rád ,protože láme hloupé učení o T jako jediném zesilovači

Kdo kde učí, že tranzistor je jediný zesilovač? To je nesmysl, a každý elektronik to ví. Dávno před tranzistory se například používaly elektronky. Konkrétně optočlen moc dobrým zesilovačem není.
 
Zvláštní ocenění za úsilí nebo přínosPozitivní ohlasy Označit příspěvek Zarážka - Až sem mám přečtenoCitovat a odpovědět

impuls   
18.02.2019 22:46

756 12 339 
  Ilem napsal(a):    Kdo kde učí, že tranzistor je jediný zesilovač? To je nesmysl, a každý elektronik to ví. Dávno před tranzistory se například používaly elektronky. Konkrétně optočlen moc dobrým zesilovačem není.

Myšleno bylo k ...
 
Nikde a nikdo nás v té"škole " nepoučil o využití té či oné součástky jinak než z opakovaných ,ale ne jiných možných (ohledně třeba obvodu) z opto - pro impulsy velmi dobrý . Pokud víš o lepším napiš (hlavně aby i zajištˇoval oba požadavky !!
O elektronkách je jiná kapitola -starší . Dnes pro lepší přednes hudby apod .
 
Zvláštní ocenění za úsilí nebo přínosPozitivní ohlasy Označit příspěvek Zarážka - Až sem mám přečtenoCitovat a odpovědět

Adam   
21.03.2019 11:20
Bydliště: Praha
6313 581 6083 
Zapojení s obvodem 555 - Pulzy se střídou 1:1
 
Šikovné zapojení s integrovaným obvodem 555 pro získání pulzů se střídou 1:1

https://www.mylms.cz/obrazky/elektronika/obvod555-6.png

Celý článek - více různých zapojení (s jinou střídou než 1):
https://www.mylms.cz/text-zapojeni-casovace-555/
(Střída 1:1 je na schématu s popiskem "Astabilní KO II")
 
Zvláštní ocenění za úsilí nebo přínosPozitivní ohlasy Označit příspěvek Zarážka - Až sem mám přečtenoCitovat a odpovědět

E_man    Schval. r.
21.03.2019 12:36
Bydliště: Kde lišky dávají dobrou noc
2217 85 1825 
Pro Martina-
A tady máš odkaz na koupi za půl dolaru od "zlých číňanů".

P.S. Pošli SZ a jeden modul ti pošlu okamžitě.
Značka: Věci mají sloužit a ne ležet.
 
Zvláštní ocenění za úsilí nebo přínosPozitivní ohlasy Označit příspěvek Zarážka - Až sem mám přečtenoCitovat a odpovědět

E_man    Schval. r.
21.03.2019 12:37
Bydliště: Kde lišky dávají dobrou noc
2217 85 1825 
Zapomněl jsem odkaz:
https://www.aliexpress.com/item/NE555-Pulse-Frequency-Duty-Cycle-Adjustable-Module-Square-Wave-Signal-Generator-30330/32655474459.htm
 
Zvláštní ocenění za úsilí nebo přínosPozitivní ohlasy Označit příspěvek Zarážka - Až sem mám přečtenoCitovat a odpovědět

E_man    Schval. r.
21.03.2019 12:40
Bydliště: Kde lišky dávají dobrou noc
2217 85 1825 
Chybělo "l" na konci, tak ještě jednou:
https://www.aliexpress.com/item/NE555-Pulse-Frequency-Duty-Cycle-Adjustable-Module-Square-Wave-Signal-Generator-30330/32655474459.html
 
Zvláštní ocenění za úsilí nebo přínosPozitivní ohlasy Označit příspěvek Zarážka - Až sem mám přečtenoCitovat a odpovědět

Str.: 1, 2, 3, 4  

Psát příspěvky můžete po přihlášení

 
Omforum.cz   |   Nápověda   |   Pravidla fóra   |   Podpořte chod fóra   |   Vytvořil: 2015-2025 Adam Benda
 
 
CC BY-NC-ND 3.0 CZ
Licence Creative Commons
Toto dílo podléhá licenci Creative Commons Uveďte původ-Neužívejte komerčně-Nezpracovávejte 3.0 Česká republika License